1 概述
2 儀器的主要技術性能
3 儀器結構
4 操作步驟
5 儀器的維護
6 緩沖溶液的配制方法
7 電極使用維護的注意事項
8 污染物質和清洗劑參考表
9 成套性
附錄:緩沖溶液的pH值與溫度關系對照表
1 概 述
PHS—25型pH計是一臺精密數字顯示pH計, 它采用帶藍色背光、雙排數字顯示液晶,可同時顯示pH、溫度值或電位(mV)、溫度值。該儀器適用于大專院校、研究院所、環境監測、工礦企業等部門的化驗室取樣測定水溶液的pH值和電位(mV)值、配上ORP電極可測量溶液ORP(氧化-還原電位)值。配上離子選擇性電極,測出該電極的電極電位值。
2 儀器的主要技術性能
1.儀器級別:0.1級
2.測量范圍: pH:(0.00~14.00) pH
mV:(0~±1400)mV(自動極性顯示)
3.**小顯示單位:0.01 pH,l mV,0.1℃
4.溫度補償范圍:(0.0~60.0)℃
5.電子單元基本誤差: pH:±0.05 pH
mV:±1%FS
6.儀器的基本誤差:±0.1 pH
7.電子單元輸入電流:不大于1×10
-11A
8.電子單元輸入阻抗:不小于 3×10
11Ω
9.溫度補償器誤差:±0.05 pH
10.電子單元重復性誤差:pH:0.05 pH
mV:5mV
11.儀器重復性誤差:不大于0.05 pH
12.電子單元穩定性:±0.05 pH±l 個字/3h
13.外形尺寸 1×b×h, mm:220×160×65
14.重 量:1.0kg
15.正常使用條件
a) 環境溫度:(5~40)℃;
b) 相對濕度:不大于85%;
c) 供電電源:DC 6V;
d) 除地球磁場外無其他磁場干擾;
e) 無顯著的振動。
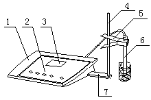
3 儀器結構
儀器外型結構

l ── 機箱
2 ── 鍵盤
3 ── 顯示屏
4 ── 電極梗
5 ── 電極夾
6 ── 電極
7 ── 電極梗固定座
(已安裝在機箱底部)
儀器后面板
8── 測量電極插座
9──電源插座
儀器鍵盤說明:
|
按鍵 |
功能 |
|
pHmV |
“pHmV”轉換鍵, pH、mV測量模式轉換 |
|
溫度 |
“溫度”鍵,對溫度進行手動É趨 |
|
標定 |
“標定”鍵,對pH進行定位、斜率標定工作 |
|
△ |
“△”鍵,此鍵為數值上升鍵,按此鍵“△ ”為調節數值上升。 |
|
▽ |
“▽”鍵,此鍵為數值下降鍵,按此鍵“▽”為調節數值下降。 |
|
確認 |
“確認”鍵,按此鍵為確認上一步操作并返回pH測試狀態或下一種工作狀態。此鍵的另外一種功能是如果儀器因操作不當出現不正常現象時,可按住此鍵,然后將電源開關打開,使儀器恢復初始狀態。 |
|
OFFON |
儀器電源的開關。 |
液晶顯示說明:
-18.88——作為pH、mV測量數值。
88.8——作為溫度顯示數值。
pH、mV——作為pH、mV測量數
值相應顯示單位。
℃——作為溫度顯示單位。℃閃爍
時作為溫度調節狀態。
定位、斜率、測量——分別顯示在相應工作狀態。
笑臉——測量狀態,斜率≧85%時顯示。
哭臉——測量狀態,斜率<85%時顯示單位。玻璃電極性能下降,應及時更換。

#p#分頁標題#e#
儀器附件
10──Q9短路插(已安裝在儀器測量電極插座上)
11── E-201-C型pH復合電極
12 ──電極保護套
儀器選購件
電極轉換器
4 操作步驟
開機前的準備
a) 將電極梗(4)插入電極梗固定座中(7);
b) 將電極夾(5)插入電極梗中(4);
c) 將pH復合電極(11)安裝在電極夾(4)上;
d)

將 E-201-C型pH復合電極下端的電極保護套套(12)拔下,并且拉下電極上端的橡皮套使其露出上端小孔;
e) 用蒸餾水清洗電極。
PHS-25操作流程圖
4.1.1自動標定(適用于4.00pH、 6.86pH、 9.18pH標準緩沖溶液)
儀器使用前shou先要標定。一般情況下儀器在連續使用時, 每天要標定一次。
a) 在測量電極插座(8)處拔掉Q9短路插頭(10);
b) 在測量電極插座(8)處插入復合電極(11 );
c) 打開電源開關,儀器進入pH測量狀態;
d) 按“溫度”鍵,使儀器進入溶液溫度調節狀態(此時溫度單位℃指示燈閃亮),按“△”鍵或“▽”鍵調節溫度顯示數值上升或下降,使溫度顯示值和溶液溫度一致,然后按“確認”鍵,儀器確認溶液溫度值后回到pH測量狀態;
e) 把用蒸餾水或去離子水清洗過的電極插入pH=6.86pH(或pH=4.00;或pH=9.18)的標準緩沖溶液中,按“標定”鍵,此時顯示實測的mV值,
待讀數穩定后按“確認”鍵(此時顯示實測的mV值對應的該溫度下標準緩沖溶液的標稱值),然后再按“確認”鍵,儀器轉入“斜率”標定狀態。溶液的pH值與溫度關系對照表見附錄;
f) 儀器在“斜率”標定狀態下,把用蒸餾水或去離子水清洗過的電極插入pH=4.00(或pH=9.18;或pH=6.86pH)的標準緩沖溶液中,此時顯示實測的mV值,
待讀數穩定后按“確認”鍵(此時顯示實測的mV值對應的該溫度下標準緩沖溶液的標稱值),然后再按“確認”鍵,儀器自動進入pH測量狀態。
如果用戶誤使用同一標準緩沖溶液進行定位、斜率標定,在斜率標定過程中按“確認”鍵時,液晶顯示器下方“斜率”顯示會連續閃爍三次,通知用戶斜率標定錯誤,儀器保持上一次標定結果;
g) 用蒸餾水及被測溶液清洗電極后即可對被測溶液進行測量。
4.1.1手動標定
儀器使用前shou先要標定。一般情況下儀器在連續使用時, 每天要標定一次。
a) 在測量電極插座(8)處拔掉Q9短路插頭(10);
b) 在測量電極插座(8)處插入復合電極(11 );
c) 打開電源開關,儀器進入pH測量狀態;
d) 按“溫度”鍵,使儀器進入溶液溫度調節狀態(此時溫度單位℃指示燈閃亮),按“△”鍵或“▽”鍵調節溫度顯示數值上升或下降,使溫度顯示值和溶液溫度一致,然后按“確認”鍵,儀器確認溶液溫度值后回到pH測量狀態;
e) 把用蒸餾水或去離子水清洗過的電極插入pH=6.86pH(或pH=4.00;或pH=9.18或已知標準緩沖溶液)的標準緩沖溶液中,按“標定”鍵,此時顯示實測的mV值,
待讀數穩定后按“確認”鍵(此時顯示實測的mV值對應的該溫度下標準緩沖溶液的標稱值),按“△”鍵或“▽”鍵調節顯示值上升或下降,使顯示值和該溫度下已知標稱值一致,然后再按“確認”鍵,儀器轉入“斜率”標定狀態。
g) 儀器在“斜率”標定狀態下,蒸餾水或去離子水清洗過的電極插入pH=4.00(或pH=9.18;或pH=6.86pH或已知標準緩沖溶液)的標準緩沖溶液中,此時顯示實測的mV值,
待讀數穩定后按“確認”鍵(此時顯示實測的mV值對應該溫度下標準緩沖溶液的標稱值),按“△”鍵或“▽”鍵調節顯示值上升或下降,使顯示值和該溫度下已知標稱值一致,然后再按“確認”鍵,儀器自動進入pH測量狀態。
如果用戶誤使用同一標準緩沖溶液進行定位、斜率標定,在斜率標定過程中按“確認”鍵時,液晶顯示器下方“斜率”顯示會連續閃爍三次,通知用戶斜率標定錯誤,儀器保持上一次標定結果;#p#分頁標題#e#
g) 用蒸餾水及被測溶液清洗電極后即可對被測溶液進行測量。
如果在標定過程中操作失誤或按鍵按錯而使儀器測量不正常,可關閉電
源,然后按住“確 認”鍵后再開啟電源,使儀器恢復初始狀態。然后重新標定。
注意:經標定后,如果誤按“標定”鍵或“溫度”鍵,則可將電源關掉后重新開機,儀器將恢復到原來的測量狀態。
注:標定的緩沖溶液一般**次用pH=6.86的溶液,第二次用接近被測溶液pH值的緩沖液,如被測溶液為酸性時,緩沖溶液應選pH=4.00;如被測溶液為堿性時則選pH=9.18的緩沖溶液。
一般情況下,在24h內儀器不需再標定。
4.2 測量 pH值
經標定過的儀器,即可用來測量被測溶液,根據被測溶液與標定溶液溫度是否相同,其測量步驟也有所不同。具體操作步驟如下:
( l ) 被測溶液與標定溶液溫度相同時,測量步聚如下:
a) 用蒸餾水清洗電極頭部,再用被測溶液清洗一次:
b) 把電極浸入被測溶液中,用玻璃棒攪拌溶液,使其均勻,在顯示屏上讀出溶液的 pH值。
( 2 ) 被測溶液和標定溶液溫度不同時,測量步驟如下:
a) 用蒸餾水清洗電極頭部,再用被測溶液清洗一次;
b) 用溫度計測出被測溶液的溫度值;
c) 按“溫度” 鍵,使儀器進入溶液溫度狀態(此時℃溫度單位指示燈閃亮),按“△”鍵或“▽”鍵調節溫度顯示數值上升或下降,使溫度顯示值和被測溶液溫度值一致,然后按“確認”鍵,儀器確定溶液溫度后回到pH測量狀態。
d) 把電極插入被測溶液內, 用玻璃棒攪拌溶液, 使其均勻后讀出該溶液的pH值。
4.3 測量電極電位(mV值)
(1) 打開電源開關,儀器進入pH測量狀態;按“pHmV”鍵,使儀器進入mV測量即可。
(2) 把ORP復合電極夾在電極架上;
(3) 用蒸餾水清洗電極頭部,再用被測溶液清洗一次;
(4) 把復合電極的插頭插入測量電極插座(8)處;
(5) 把ORP復合電極插在被測溶液內,將溶液攪拌均勻后,即可在顯示屏上讀出該離子選擇電極的電極電位(mV值),還可自動顯示±極性;
(6) 如果被測信號超出儀器的測量(顯示)范圍,或測量端開路時,顯示屏顯示1 - - -mV,作超載報警。
注:由于該儀器為0.1級表,用于測量mV時的誤差較大,建議用戶不要使用該表測量mV值。
注意:如果選用非復合型的測量電極(包括pH電極、金屬電極等),則必須使用電極轉換器(儀器選購件),將電極轉換器的插頭插入儀器測量電極插座(8)處,電極插頭插入轉換器測量電極插座處,參比電極接入參比電極接口處。
5 儀器維護
儀器的經常地正確使用與維護,可保證儀器正常、可靠地使用,特別是pH計這一類的儀器,它具有很高的輸入阻抗,而使用環境需經常接觸化學藥品,所以更需合理維護。
1 儀器的輸入端(測量電極插座6)必須保持干燥清潔。儀器不用時,將Q9 短路插頭插入插座,防止灰塵及水汽浸入。
2 電極轉換器(選購件)專為配用其他電極時使用, 平時注意防潮防塵。
3 測量時,電極的引入導線應保持靜止,否則會引起測量不穩定。
4 儀器所使用的電源應有良好的接地。
5 儀器采用了M0S集成電路,因此在檢修時應保證電烙鐵有良好的接地。
6 用緩沖溶液標定儀器時,要保證緩沖溶液的可靠性,不能配錯緩沖溶液,
否則將導致測量結果產生誤差。
6 緩沖溶液的配制方法
1. pH4.00溶液:用GR鄰苯二甲酸氫鉀10.12g,溶解于1000ml的高純去離子水中。
2. pH6.86溶液:用GR磷酸二氫鉀3.387g、GR磷酸氫二鈉3.533g,溶解于1000mL的高純去離子水中。
3. pH9.18溶液:用GR硼砂3.80g、溶解于1000mL的高純去離子水中。
注意:配制2、3溶液所用的水,應預先煮沸(15~30)min,除去溶解的二氧化碳。在冷卻過程中應避免與空氣接觸,以防止二氧化碳的污染。#p#分頁標題#e#
7 電極使用、維護的注意事項
1. 電極在測量前必須用已知 pH值的標準緩沖
溶液進行定位校準,其pH值愈接近被測pH值
愈好。
2. 在每次校準、測量后進行下一次操作前,應該用蒸餾水或去離子水充分清洗電極,再用被測液清洗一次電極。
3. 下電極護套后,應避免電極的敏感玻璃泡與
硬物接觸,因為任何破損或擦毛都使電極失
效。
4. 測量結束,及時將電極保護套套上,電極套內
應放少量外參比補充液,以保持電極球泡的濕

潤,切忌浸泡在蒸餾水中。
5. 復合電極的外參比補充液為3mol/L氯化鉀
溶液,補充液可以從電極上端小孔加入,復
合電極不使用時,拉上橡皮套,防止補充液
干涸 。
6. 電極的引出端必須保持清潔干燥,**防止
輸出兩端短路,否則將導致測量失準或失效。
7. 電極應與輸入阻抗較高的pH計(≥3×10
11Ω)
配套,以使其保持良好的特性。
8. 電極應避免長期浸在蒸餾水、蛋白質溶液和
酸性氟化物溶液中.
9. 電極避免與有機硅油接觸。
10. 電極經長期使用后,如發現斜率略有
降低,則可把電極下端浸泡在4%HF(氫氟酸)
中(3~5)s, 用蒸餾水洗凈、然后在0.1 mo l/L鹽酸溶液中浸泡,使之復新。
11.被測溶液中如含有易污染敏感球泡或堵塞液接界的物質而使電極鈍化,會出現斜率降低,顯示讀數不準現象。如發生該現象,則應根據污染物質的性質,用適當溶液清洗,使電極復新。
注1:選用清洗劑時、不能用四氯化碳、三氯乙烯、四氫呋喃等能溶解聚碳
酸樹脂的清洗液,因為電極外殼是用聚碳酸樹脂制成的,其溶解后極
易污染敏感玻璃球泡,從而使電極失效。也不能用復合電極去測上述
溶液。此時請選用65-1型玻璃殼pH復合電極。
注2:pH復合電極的使用,**容易出現的問題是外參比電極的液接界處,液接界處的堵塞是產生誤差的主要原因。
8 污染物質和清洗劑參考表
污染物 清洗劑
無機金屬氧化物 低于 lmol/L 稀酸
有機油脂類物質 稀洗滌劑(弱堿性)
樹脂高分子物質 酒精、丙酮、乙醚(玻璃球泡清洗)
蛋白質血球沉淀物 5%胃蛋白酶+0.1mol/L HCl溶液
顏料類物質 稀漂白液、過氧化氫
9 成套性
1. PHS—25型精密pH計 l臺
2. E—201—C型塑殼可充式pH復合電極 1支
3. 附件一套,以隨機裝箱單為準
若用戶需測量氧化—還原電位(ORP)或測量相應的離子電極電位之場合,請用戶選購電極轉換器。
附錄:緩沖溶液的pH值與溫度關系對照表#p#分頁標題#e#
|
溫度℃ |
0.05mol/kg
鄰苯二鉀酸氫鉀 |
0.025mol/kg
混合物磷酸鹽 |
0.01mol/kg
硼砂 |
|
5 |
4.00 |
6.95 |
9.39 |
|
10 |
4.00 |
6.92 |
9.33 |
|
15 |
4.00 |
6.90 |
9.28 |
|
20 |
4.00 |
6.88 |
9.23 |
|
25 |
4.00 |
6.86 |
9.18 |
|
30 |
4.01 |
6.85 |
9.14 |
|
35 |
4.02 |
6.84 |
9.11 |
|
40 |
4.03 |
6.84 |
9.07 |
|
45 |
4.04 |
6.84 |
9.04 |
|
50 |
4.06 |
6.83 |
9.03 |
|
55 |
4.07 |
6.83 |
8.99 |
|
60 |
4.09 |
6.84 |
8.97 |